[image]

Создание нового СУВВП для ВКС и ВМФ России

 
LT Bredonosec #29.12.2022 18:56  @paralay#07.12.2022 18:16
+
-
edit
 
paralay> А посчитать они не пробовали?
о, уже и сюда эту наркоманию скопипастили ))
а я думал, у кого хватит ума =))
   62.062.0
MD Serg Ivanov #08.01.2026 17:57
+
-
edit
 

Serg Ivanov

аксакал
★★

Биплан на взлёте и посадке, моноплан в полёте-

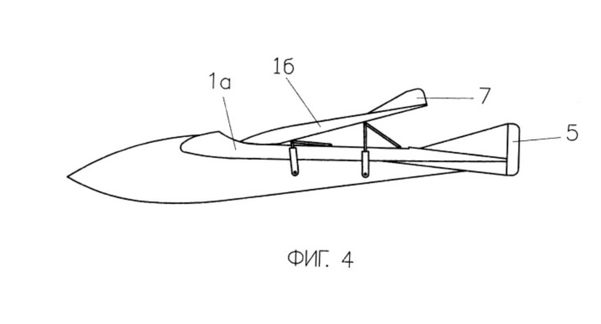
В России запатентовали необычную конструкцию лёгкого истребителя, которая решает одну из главных проблем боевой авиации — снижение взлётно-посадочной скорости без потери крейсерских характеристик. Речь идёт о самолёте, выполненном по схеме «летающее крыло» с вертикально разъёмным крылом, способным менять конфигурацию прямо в полёте.
 

Ключевая особенность разработки — двухчастное крыло, состоящее из нижней и верхней секций. В крейсерском режиме они объединяются в единый силовой элемент и работают как обычное крыло, не ухудшая скоростные качества. Перед взлётом и посадкой верхняя часть поднимается на подвижных кронштейнах и может менять угол атаки.

При посадке верхняя секция переводится в положительный угол атаки, резко увеличивая подъёмную силу. Это позволяет снижать посадочную скорость и сокращать длину ВПП. На этапе пробега верхнюю часть крыла переводят в отрицательный угол — самолёт интенсивно тормозит аэродинамически, без применения тормозных парашютов.
 
 

Для устойчивости в поднятом положении верхняя часть крыла оснащена дополнительными килями, подавляющими колебания. Нижняя секция получила законцовки, отклонённые на 45 градусов, что повышает управляемость и манёвренность.

Отдельно решена проблема жёсткой посадки: колёса шасси оснащаются воздушными турбинами, которые раскручивают их встречным потоком ещё до касания полосы. Это снижает ударную нагрузку и износ стоек.
 
 

Самолёт предполагается оснащать реактивными двигателями с управляемым вектором тяги и эжекторами, повышающими КПД. В результате разработчики получили концепцию истребителя, способного работать с коротких и неподготовленных аэродромов, сохраняя высокую скорость и манёвренность.
 
   143.0.0.0143.0.0.0
Это сообщение редактировалось 08.01.2026 в 18:09
08.01.2026 18:02, Bredonosec: -1: Первое апреля еще через 4 месяца, рановато выложил.
+
-
edit
 

mico_03

аксакал

S.I.>> ... самолет будет выполнен в размерности МиГ-35
AGRESSOR> ... и на базе МиГ-35.

Зря ругают ридный ВПК - раньше Ростех? оплачивал \ вкладывал денежки в концерты пугачевой, а "подтянулась" в его состав АОК (вместе с РСК), так сразу стал виден прогресс - пошла работа близкая к авиации - появилась идея создать карабелку 5 поколения, и не просто, а сразу стелс (и возможно вертикалку...)!
   11
Это сообщение редактировалось 09.01.2026 в 08:30
RU spam_test #12.01.2026 09:18  @Serg Ivanov#08.01.2026 17:57
+
-
edit
 

spam_test

аксакал

S.I.> Биплан на взлёте и посадке, моноплан в полёте
Больше всего это похоже на беспилотник типа Шахеда. Чтобы проще было запускать.
   143.0.0.0143.0.0.0
MD Serg Ivanov #12.01.2026 11:37  @spam_test#12.01.2026 09:18
+
-
edit
 

Serg Ivanov

аксакал
★★

S.I.>> Биплан на взлёте и посадке, моноплан в полёте
s.t.> Больше всего это похоже на беспилотник типа Шахеда. Чтобы проще было запускать.
Почему бы и нет для начала? Но многоразовые ибо годится и для посадки. Будет разумное применение УДК что в Керчи строят.
   143.0.0.0143.0.0.0
Последние действия над темой

в начало страницы | новое
 
Поиск
Настройки
Статистика
Рейтинг@Mail.ru